包装信息 (1)
封装信息 (1)
应用笔记 (1)
-
AN10216[AN10216]
支持信息 (1)
-
Footprint for reflow soldering[SO-SOJ-REFLOW]
数据手册 (1)
-
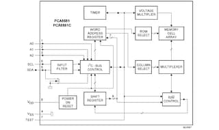
128 x 8-bit EEPROM with I2C-bus interface[PCA8581_PCA8581C]



