应用笔记 (1)
数据手册 (1)
-
One-chip 5 V Qi wireless transmitter[NXQ1TXH5]
用户指南 (1)
-
NXQ1TXH5DB1355 plugin board[UM11152]
This product is Not Recommended for New Designs. Please visit our Wireless Power Portfolio for more options.
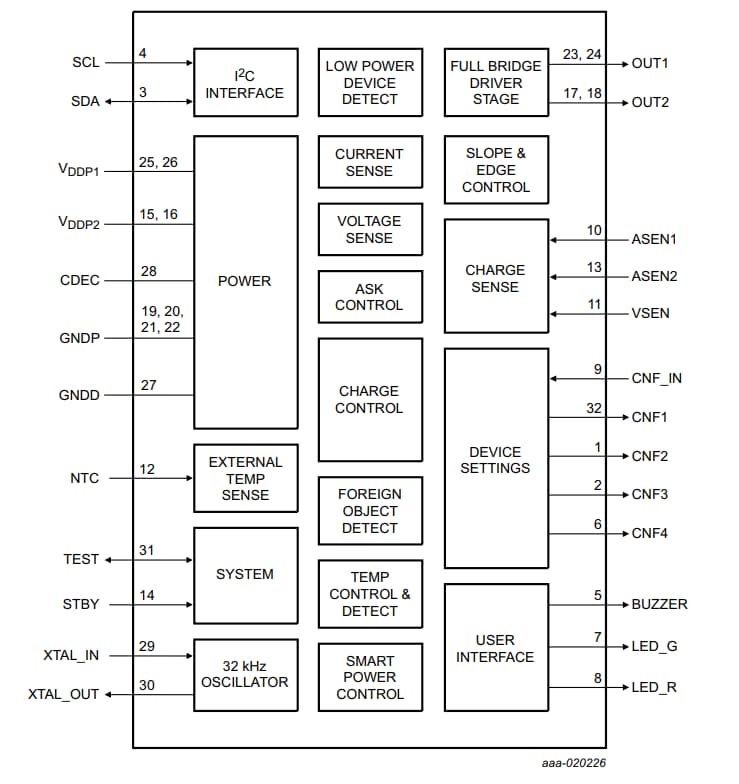
The NXQ1TXH5 is a fully integrated one-chip controller and driver IC enabling the design of a 5 V Qi-certified low-power wireless charger. It includes a 5 V full-bridge power stage, as defined in the Wireless Power Consortium (WPC) low-power Qi configurations A5, A11, A12, and A16. The device is optimized for a minimum external component count, enabling a very low-cost application and a simple PCB design.
The NXQ1TXH5 uses dedicated analog ping circuitry to detect devices, according to the Qi standard, achieving an very low standby power consumption of 10 mW. The NXQ1TXH5 takes care of a reliable ASK communication and controls the wireless power transfer from the transmitter to the receiver while monitoring for fault conditions such as overheating or interference by metal objects. The device is optimized to operate from a USB power supply and uses Smart Power Limiting (SPL) to adjust the output power automatically to compensate for power-limited supplies. The device supports Foreign Object Detection (FOD) and operates according to the WPC Qi low-power V1.2.4 specifications.
LED and buzzer outputs are available for the user interface. For the LED outputs a wide range of blinking modes can be selected in the application. Static Power Reduction (SPR) allows multiple NXQ1TXH5-based transmitters to operate from a single USB power supply by limiting power consumption per device.
The NXQ1TXH5 comes in a size optimized low-cost 5 mm × 5 mm, 32-pin HVQFN package.

快速参考恩智浦 文档类别
3 文件
紧凑列表
安全文件正在加载,请稍等