封装信息 (1)
-
Bare die: 168 bumps[OL-PCF2119X]
应用笔记 (4)
数据手册 (1)
-
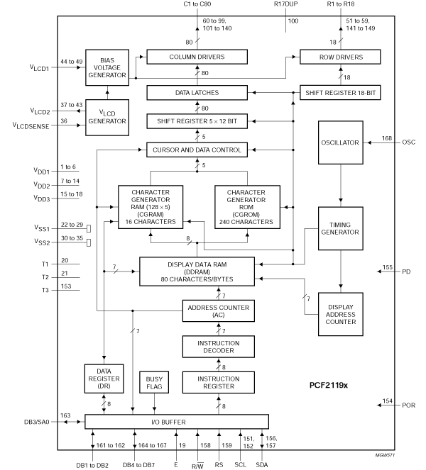
LCD controllers/drivers[PCF2119X]
|
|
|
|
|
|
|
|---|---|---|---|---|---|
|
|
|
|
|
|
|
|
|
|
|
|
|
|
|
|
|
|
|
|
|
|
|
|
|
|
|
|
|
|
|
|
|
|
|
|
|
|
|
|
|
|
|
|
|
|
|
|
|
|
|
|
|
|
|
|
|
|
|
|
|
|
|
|
|
|
|
|
|
|
快速参考恩智浦 文档类别
1-10 / 11 文件
紧凑列表
安全文件正在加载,请稍等