包装信息 (1)
封装信息 (1)
应用笔记 (1)
-
ESD and EMC sensitivity of IC[AN10853]
数据手册 (1)
用户指南 (2)
-
PCA9632 demonstration board OM13269[UM10528]
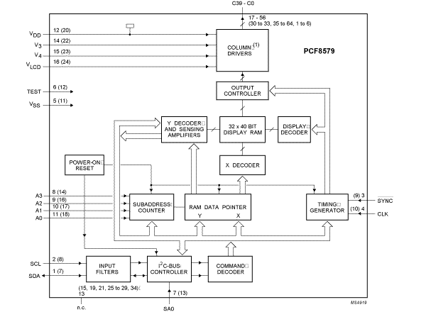
PCF8579是一款低功率CMOS LCD列驱动器,为驱动复用率为1:8、1:16、1:24或1:32的点阵图形显示而设计。器件具有40个输出并可驱动32行多路复用LCD中的32 x 40点。最多可级联16个PCF8579且在同一I²C总线上最多可使用32个器件(使用两个从地址)。该器件最适合配合PCF8578 LCD行/列驱动器使用。结合这些器件可形成通用LCD点阵驱动器芯片组,能够驱动最多40960点的显示。PCF8579兼容大多数微控制器并通过两线双向总线(I²C总线)进行通信。要允许部分VDD关闭,SCL和SDA引脚的ESD保护系统不能使用连于VDD的二极管。通过带自动递增寻址和显示库切换功能的显示RAM可最大限度降低通信开销。
|
|
|
|
|
|
|
|---|---|---|---|---|---|
|
|
|
|
|
|
|
|
|
|
|
|
|
|
|
|
|
|
|
|
|
|
|
|
|
|
|
|
|
|
|
|
|
|
|
|
|
|
|
|
|
|
|
|
|
|
|
|
|
|
|
|
|
|
|
|
|
|
|
|
|
|
|
|
|
|
|
|
|
|
快速参考恩智浦 文档类别
6 文件
紧凑列表
安全文件正在加载,请稍等