归档的内容不再更新,仅作为历史记录参考。
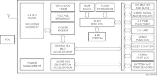
恩智浦JN516X-EK001评估套件专为与恩智浦JN516x系列配套使用而设计,后者是面向JenNet-IP、RF4CE远程控制和ZigBee应用的超低功耗、高性能无线微控制器系列。该综合套件包括一系列无线载板、插入式扩展板、USB Dongle、远程控制、特殊编程的思科路由器,以及完整的软件设计套件,为您提供系统开发所需的一切。所提供的路由器可运行恩智浦修改的恩智浦OpenWRT固件, 轻松开发含属于“物联网”的配备传感器对象的解决方案。采用该套件所含的各种演示,设计人员能够迅速生成演示或概念验证产品。同一软件可用于使用JN516X IC或模块的终端产品。如需支持文档,请单击此处。