增强型八通道通用异步接收器/发送器(八通道UART)

  • 本页面包含有关样品阶段产品的信息。此处的规格和信息如有更改,恕不另行通知。如需了解其他信息,请联系支持人员或您的销售代表。

查看产品图片

产品详情

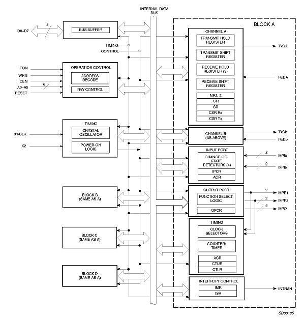
框图

SCC2698BC1A84, SCC2698BE1A84

SCC2698BC1A84, SCC2698BE1A84 Block Diagram

特征

  • 八路全双工独立异步接收器/发送器
  • 四重缓冲接收器数据寄存器
  • 可编程数据格式:
    • 5至8数据位外加奇偶校验
    • 奇、偶、无奇偶校验或强制奇偶校验
    • 可以1/16位的增量对1、1.5或2停止位进行编程
  • 接收器和发送器可选的波特率为:
    • 26个固定速率:50至38.4K波特

      非标准速率至115.2k波特

    • 源自可编程计数器/定时器的用户定义速率

      分别与四个模块相关的

    • 外部1x或16x时钟
  • 奇偶校验、成帧和超载错误检测
  • 错误起始位检测
  • 线中止的产生和检测
  • 可编程通道模式
    • 正常(全双工)、自动回波、本地环回、远程环回
  • 四个多功能可编程16位计数器/定时器
  • 四个各输出带有八个可屏蔽中断条件的中断输出
  • PLCC封装中的16个多功能引脚提供接收器就绪/FIFO满和发送器就绪状态
  • 片上晶体振荡器
  • TTL兼容
  • 带有低功率模式的单个+5V电源
  • 八个多用途输出引脚
  • 十六个多用途I/O引脚
  • 十六个带有上拉电阻的多用途输入引脚

购买/参数










































































































文档

快速参考恩智浦 文档类别

7 文件

紧凑列表

封装信息 (1)
应用笔记 (4)
支持信息 (1)
数据手册 (1)

设计文件

支持

您需要什么帮助?