封装信息 (1)
支持信息 (2)
-
Footprint for reflow soldering[SSOP-TSSOP-VSO-REFLOW]
-
Footprint for wave soldering[SSOP-TSSOP-VSO-WAVE]
数据手册 (1)
-
Economy audio CODEC[UDA1345TS]
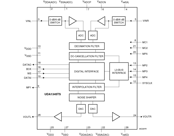
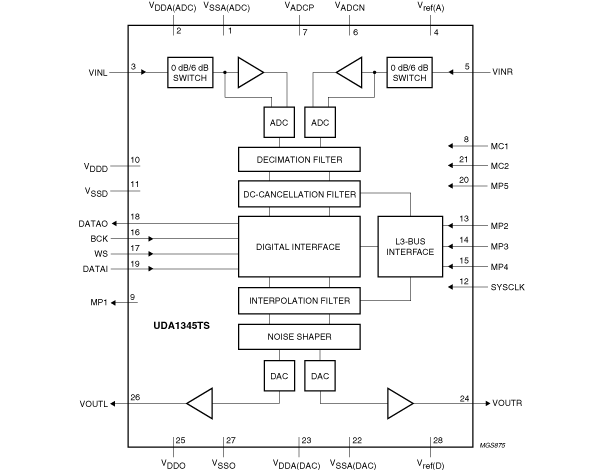
UDA1345TS是一款单芯片立体声模数转换器(ADC)和数模转换器(DAC),具有信号处理功能,采用位流转换技术。由于具备低功耗和低电压要求,该器件非常适用于具有录音和播放功能的低电压低功耗便携式数字音频设备。
UDA1345TS支持以下数据格式:I²S总线数据格式,字长最高达到24位;最高有效位对齐数据格式,字长最高达到20位;最低有效位对齐串行数据格式,字长为16位、18位和20位。
UDA1345TS还支持最高有效位对齐数据输出和最低有效位对齐16位、18位和20位数据输入的三种组合数据格式。
UDA1345TS可用于静态引脚控制,或在L3微控制器接口下使用。在L3模式中,UDA1345TS在播放模式中具有一些基本声音功能,例如去加重、音量控制和软静音。
|
|
|
|
|
|
|
|---|---|---|---|---|---|
|
|
|
|
|
|
|
|
|
|
|
|
|
|
|
|
|
|
|
|
|
|
|
|
|
|
|
|
|
|
|
|
|
|
|
|
|
|
|
|
|
|
|
|
|
|
|
|
|
|
|
|
|
|
|
|
|
|
|
|
|
|
|
|
|
|
|
|
|
|
快速参考恩智浦 文档类别
4 文件
紧凑列表
安全文件正在加载,请稍等