封装信息 (1)
支持信息 (1)
-
Footprint for reflow soldering[SSOP-TSSOP-VSO-REFLOW]
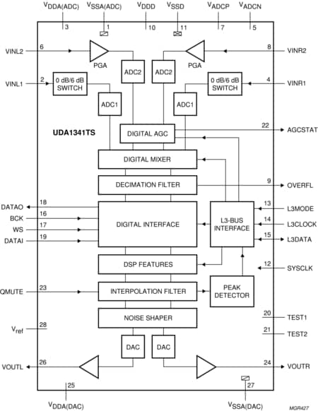
UDA1341TS是一款单芯片立体声模数转换器(ADC)和数模转换器(DAC),具有信号处理功能,采用位流转换技术。它具有完全集成的模拟前端,包括可编程增益放大器(PGA)和数字自动增益控制(AGC)。数字声音处理(DSP)功能使得该器件成为主要家庭立体声MiniDisc应用的理想之选,由于具有低功耗和低电压的特性,它还适用于便携式应用,例如MD/CD内置扬声器、笔记本电脑和数码摄像机。
UDA1341TS类似于UDA1340M和UDA1344TS,但增加了一些功能,例如两个输入信号的数字混合,以及具有PGA和数字AGC的一个通道功能。
UDA1341TS支持以下数据格式:I²S总线数据格式,字长最高达到20位;最高有效位对齐数据格式,字长最高达到20位;最低有效位对齐格式,字长为16位、18位和20位。另外还支持最高有效位对齐数据输出与最低有效位对齐16位、18位和20位数据输入的三种组合。UDA1341TS在播放模式中具有多种DSP功能,例如去加重、音量、低音增强、高音和软静音,这些功能可通过微控制器的L3接口进行控制。
|
|
|
|
|
|
|
|---|---|---|---|---|---|
|
|
|
|
|
|
|
|
|
|
|
|
|
|
|
|
|
|
|
|
|
|
|
|
|
|
|
|
|
|
|
|
|
|
|
|
|
|
|
|
|
|
|
|
|
|
|
|
|
|
|
|
|
|
|
|
|
|
|
|
|
|
|
|
|
|
|
|
|
|
快速参考恩智浦 文档类别
3 文件
紧凑列表
安全文件正在加载,请稍等