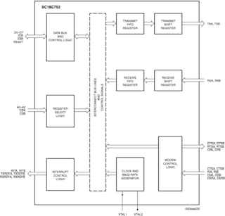
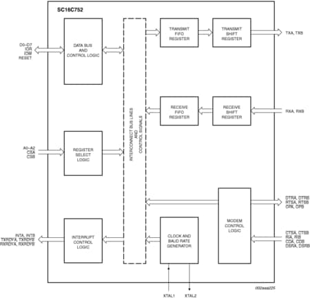
SC16C752是一款两路通用异步接收器/发送器(UART),带有64字节FIFO、自动硬件/软件流控制以及最大5 Mbits/s(3.3 V和5 V)的数据速率。SC16C752提供增强的功能。它具备传输控制寄存器(TCR),能储存硬件和软件流控制过程中用于开始/停止传输的接收器FIFO阈值电平。通过FIFO RDY寄存器,软件能在一次访问中获取所有四个端口的TXRDY/RXRDY状态。片上状态寄存器为用户提供错误指示、操作状态和调制解调器接口控制。可定制系统中断以满足用户需求。内部环回能力允许进行板载诊断。
UART通过TX信号线发射数据(经由外围8位总线发送)并接收RX信号线上的字符。可将字符编程为5、6、7或8位。UART具有64字节接收FIFO和发送FIFO并可编程为以不同触发电平中断。UART基于可编程除数及其输入时钟生成自己想要的波特率。可发送偶、奇或无奇偶校验以及1、1.5或2停止位。接收器可检测到中断、闲置、成帧错误、FIFO溢出和奇偶校验错误。发送器可检测到FIFO下溢。UART还包含用于调制解调器控制操作的软件接口,且具备软件流控制和硬件流控制能力。
SC16C752提供LQFP48塑料封装。