包装信息 (1)
封装信息 (1)
应用笔记 (5)
-
AN10608[AN10608]
-
AN10319[AN10319]
-
AN10249[AN10249]
-
SC16C550 application note[AN10163]
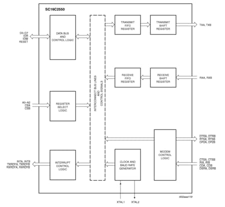
SC16C2550是一款2通道通用异步接收器和发送器(UART),用于串行数据通信。其主要功能是将并行数据转换成串行数据或将串行数据转换成并行数据。UART可处理最高5 Mbits/s的串行数据速率。
SC16C2550的引脚兼容ST16C2550。其功能特性等同于16C2450。SC16C2550提供增强的UART功能,带有16字节FIFO、调制解调器控制接口、DMA模式数据传送。DMA模式数据传送由FIFO触发电平以及TXRDY和RXRDY信号控制。板载状态寄存器为用户提供误差指示和操作状态。可通过软件定制系统中断和调制解调器控制功能以满足特定的用户需求。内部环回能力允许进行板载诊断。提供独立的可编程波特率生成器以选择发送和接收波特率。
SC16C2550工作在5 V、3.3 V和2.5 V以及工业温度范围下,且提供PLCC44、LQFP48和DIP40塑料封装。
|
|
|
|
|
|
|
|---|---|---|---|---|---|
|
|
|
|
|
|
|
|
|
|
|
|
|
|
|
|
|
|
|
|
|
|
|
|
|
|
|
|
|
|
|
|
|
|
|
|
|
|
|
|
|
|
|
|
|
|
|
|
|
|
|
|
|
|
|
|
|
|
|
|
|
|
|
|
|
|
|
|
|
|
快速参考恩智浦 文档类别
8 文件
紧凑列表
安全文件正在加载,请稍等