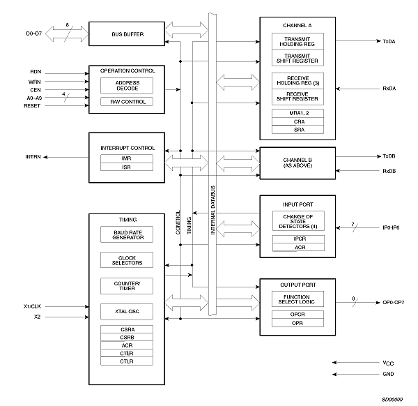
飞利浦半导体SCC2681两路通用异步接收器/发送器(DUART)是一款单芯片MOS-LSI通信器件,在单个封装中提供两条独立的全双工异步接收器/发送器通道。SCC2681T具有比标准SCC2681更快的总线周期时间。快速总线周期能通过快速CPU消除或减少等待状态的需求,并允许I/O增强系统有高吞吐量。发送器、接收器和计数器定时器可使用更高的外部时钟速率,从而提供更大的波特率生成通用性。SCC2681T直接连接微处理器,可用于轮询或中断驱动系统。用CMOS技术制造。
可对各通道的工作模式和数据格式进行单独编程。另外,每个接收器和发送器可将其工作速度选为十八个固定波特率、源自可编程计数器/定时器的16×时钟或外部1×或16×时钟之一。可从晶体或从外部时钟输入直接操作波特率生成器以及计数器/定时器。接收器和发送器工作速度的独立编程能力使DUART特别适合双速通道应用,如集群终端系统。
每个接收器均经过四重缓冲以使接收器超载的可能性最小化并降低中断驱动系统的中断开销。另外,提供流量控制能力以在接收器缓冲器已满时禁用远程DUART发送器。
SCC2681T上还提供多用途7位输入端口和多用途8位输出端口。这些可用作通用I/O端口或在程序控制下分配特定的功能(如时钟输入或状态/中断输出)。
有关SCC2681T的完整功能说明和编程信息,请参阅SCC2681产品规格。