封装信息 (1)
应用笔记 (3)
-
UART to Bluetooth interfacing[AN10307]
-
AN10320[AN10320]
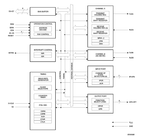
飞利浦半导体SCC2681两路通用异步接收器/发送器(DUART)是一款单芯片MOS-LSI通信器件,在单个封装中提供两条独立的全双工异步接收器/发送器通道。能直接连接微处理器,可用于轮询或中断驱动系统。用CMOS工艺制造。
可对各通道的工作模式和数据格式进行单独编程。另外,每个接收器和发送器可将其工作速度选为十八个固定波特率、源自可编程计数器/定时器的16×时钟或外部1×或16×时钟之一。可从晶体或从外部时钟输入直接操作波特率生成器以及计数器/定时器。接收器和发送器工作速度的独立编程能力使DUART特别适合双速通道应用,如集群终端系统。
每个接收器均经过四重缓冲以使接收器超载的可能性最小化,或降低中断驱动系统的中断开销。另外,提供流量控制能力以在接收器件的缓冲器已满时禁用远程DUART发送器。
SCC2681上还提供多用途7位输入端口和多用途8位输出端口。这些可用作通用I/O端口或在程序控制下分配特定的功能(如时钟输入或状态/中断输出)。
SCC2681提供三种封装版本:40引脚和28引脚DIP(均为0.6"宽)以及44引脚PLCC。
|
|
|
|
|
|
|
|---|---|---|---|---|---|
|
|
|
|
|
|
|
|
|
|
|
|
|
|
|
|
|
|
|
|
|
|
|
|
|
|
|
|
|
|
|
|
|
|
|
|
|
|
|
|
|
|
|
|
|
|
|
|
|
|
|
|
|
|
|
|
|
|
|
|
|
|
|
|
|
|
|
|
|
|
快速参考恩智浦 文档类别
安全文件正在加载,请稍等