封装信息 (1)
应用笔记 (2)
数据手册 (1)
用户指南 (2)
-
PCA9632 demonstration board OM13269[UM10528]
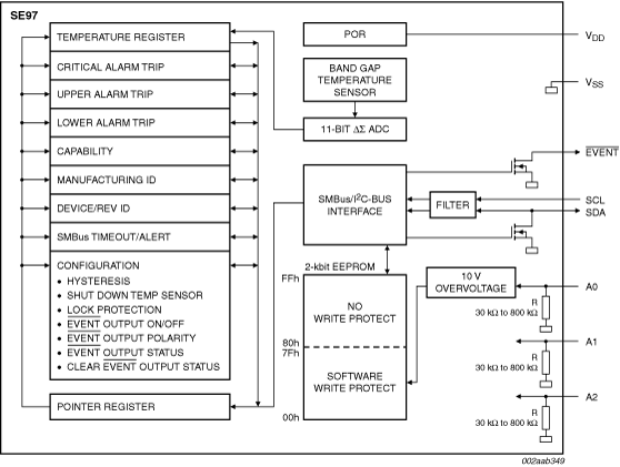
恩智浦半导体SE97的测量温度范围为-40 °C至+125 °C,其在+75 °C和+95 °C范围内的最大精度为±1 °C,满足JEDEC B级标准;该器件还集成256字节EEPROM存储器,可通过I²C总线/SMBus进行通信。该器件通常安装在DDR3双列直插式内存模块(DIMM)上,依照新的JEDEC (JC-42.4)移动平台内存模块温度传感器组件规范测量DRAM温度,同时还可取代串行存在检测(SPD),以储存内存模块和厂商信息。
SE97温度传感器在3.0 V至3.6 V的VDD范围内运行,EEPROM在3.0 V至3.6 V范围内进行写入,并在1.7 V至3.6 V范围内进行读取。
将温度传感器(TS)放置在DIMM上,可精确监控DIMM模块温度,更好地评估DRAM外壳温度(TCASE),防止它超过最高工作温度85°C。芯片组使用安装在主板上的温度传感器,根据实际温度而不是计算出的最恶劣情况的温度或环境温度来节制内存流量。使用一个或两个1 GB SO-DIMM模块的轻薄型笔记本电脑的性能提高了30%。TS在DDR3 RDIMM和RDIMM ECC上是必选的。TS的未来使用将包括更动态地控制热节流,能够使用警报窗口为动态节流创建多个温度区,以及通过扩大内存刷新率来节省处理器时间。TS由Δ-∑型模数转换器(ADC)组成,该转换器以每秒10次的速率监控并更新其自身温度读数,将读数转换为数字数据,同时将数据锁存入数据温度寄存器中。用户可编程寄存器、上/下警报和临界温度触发点的规格、EVENT输出控制和温度关断等功能,为DIMM温度感应应用提供了灵活性。
当温度变化超过指定的边界极限时,SE97使用可在0.9 V和3.6 V之间上拉的开漏输出来输出EVENT信号。用户可选择将EVENT输出信号极性设为用于恒温器操作的有效低电平或有效高电平的比较器输出,或设为用于微处理器系统的温度事件中断输出。甚至可将EVENT输出配置为临界温度输出。
该EEPROM是专门为DRAM DIMM SPD而设计的。软件可以将较低的128字节(地址00h至7Fh)设置为永久写保护(PWP)或可反转写保护(RWP)。这样可以对DRAM供应商和产品信息进行存储并写保护。较高的128字节(地址80h至FFh)不是写保护的,可用作通用数据存储。
SE97提供单芯片,适用于温度传感器和EEPROM,以实现更高的可靠性,并支持工业标准的2线I²C总线/SM总线串行接口。支持SMBus TIMEOUT功能以防系统锁定。制造商和器件ID寄存器提供确认器件身份的能力。三个地址引脚允许单条总线控制最多八个器件。
|
|
|
|
|
|
|
|---|---|---|---|---|---|
|
|
|
|
|
|
|
|
|
|
|
|
|
|
|
|
|
|
|
|
|
|
|
|
|
|
|
|
|
|
|
|
|
|
|
|
|
|
|
|
|
|
|
|
|
|
|
|
|
|
|
|
|
|
|
|
|
|
|
|
|
|
|
|
|
|
|
|
|
|
快速参考恩智浦 文档类别
6 文件
紧凑列表
安全文件正在加载,请稍等