封装信息 (1)
应用笔记 (1)
-
AN10216[AN10216]
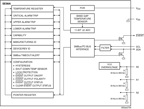
恩智浦半导体SE98A的测量温度范围为-40 °C至+125 °C,其在+75 °C和+95 °C范围内的最大精度为±1 °C,满足JEDEC B级标准;该器件可通过I2C总线/SMBus进行通信。该器件通常安装在双列直插式存储器模块(DIMM)上,用来根据最新的JEDEC (JC-42.4)移动平台存储器模块热传感器组件规格测量DRAM温度。
SE98A热传感器工作于1.7 V至3.6 V的VDD范围。SE98A不附带2 k SPD且主要用于定制需要大型SPD的DIMM。
温度传感器(TS)由模拟至数字转换器(ADC)组成,该转换器监视并每秒8次更新其自身的温度读数,将读数转换成数字数据并将其锁存至数据温度寄存器中。用户可编程寄存器,诸如关断或低功率模式以及温度事件和电路输出边界的规格,为DIMM温度感应应用提供了灵活性。
当温度变化超过指定的边界极限时,SE98A使用可在0.9 V和3.6 V之间上拉的开漏输出以输出EVENT信号。用户可选择将EVENT输出信号极性设为用于恒温器操作的低电平有效或高电平有效的比较器输出,或设为用于微处理器系统的温度事件中断输出。甚至可将EVENT输出配置为临界温度输出。
SE98A支持行业标准2线I²C总线/SMBus串行接口。支持SMBus TIMEOUT功能以防系统锁定。制造商和器件ID寄存器提供确认器件身份的能力。三个地址引脚允许单条总线控制最多八个器件。
SE98A是改进型的SE98且可与SE97中的热传感器相媲美,但是电压范围为1.7 V至3.6 V。
|
|
|
|
|
|
|
|---|---|---|---|---|---|
|
|
|
|
|
|
|
|
|
|
|
|
|
|
|
|
|
|
|
|
|
|
|
|
|
|
|
|
|
|
|
|
|
|
|
|
|
|
|
|
|
|
|
|
|
|
|
|
|
|
|
|
|
|
|
|
|
|
|
|
|
|
|
|
|
|
|
|
|
|
快速参考恩智浦 文档类别
4 文件
紧凑列表
安全文件正在加载,请稍等