封装信息 (1)
-
plastic leaded chip carrier; 68 leads[SOT188-2]
支持信息 (1)
-
Footprint for wave soldering[PLCC-WAVE]
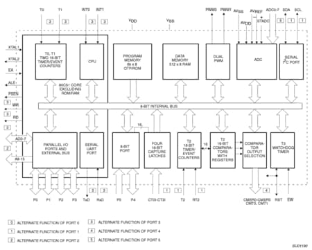
P87C552单芯片8位微控制器通过高级CMOS工艺制造,是80C51微控制器系列的衍生产品。87C552与80C51具有相同的指令集。
87C552包含一个8k x 8非易失性EPROM,一个256 x 8读/写数据存储器,五个8位I/O端口,一个8位输入端口,两个16位定时器/事件计数器(与80C51的定时器类似),一个与捕获和比较锁存配套的额外的16位定时器,一个15源,四优先级嵌套中断结构,一个8输入ADC,一个双DAC脉宽调制接口,两个串行接口(UART和I 2C总线),一个“看门狗”定时器和片内振荡器以及定时电路。对于需要额外功能的系统, 8xC552可以使用标准TTL兼容内存和逻辑进行扩展。
此外, 8xC552具有降低能耗空闲模式和掉电模式这两种可选软件模式。空闲模式冻结CPU同时允许RAM、定时器、串口和中断系统继续工作。ADC可以选择在空闲模式下运行。掉电模式保存RAM内容但冻结振荡器,从而使所有其它芯片功能失效。
该设备还具有算术处理器功能,同时具有二进制和BCD算术以及位处理能力。指令集包括超过100个指令:49个单字节、45个双字节和17个三字节。凭借8-MHz晶振,58%的指令在0.75微秒内执行,40%在1.5微秒内执行。乘和除指令需要3微秒。

|
|
|
|
|
|
|
|---|---|---|---|---|---|
|
|
|
|
|
|
|
|
|
|
|
|
|
|
|
|
|
|
|
|
|
|
|
|
|
|
|
|
|
|
|
|
|
|
|
|
|
|
|
|
|
|
|
|
|
|
|
|
|
|
|
|
|
|
|
|
|
|
|
|
|
|
|
|
|
|
|
|
|
|
快速参考恩智浦 文档类别
3 文件
紧凑列表
安全文件正在加载,请稍等