勘误表 (3)
-
Errata sheet P89LPC901[ES_P89LPC901]
-
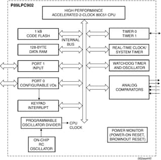
Errata sheet P89LPC903[ES_P89LPC903]
-
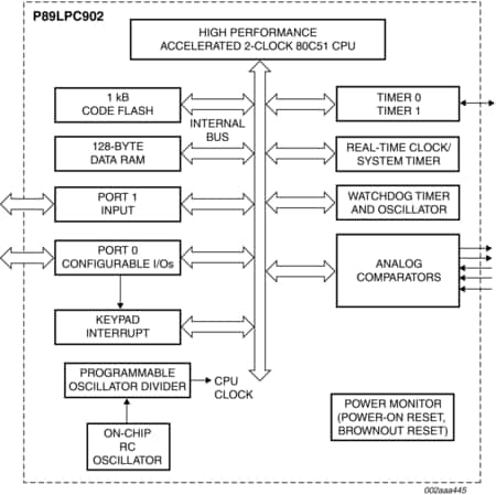
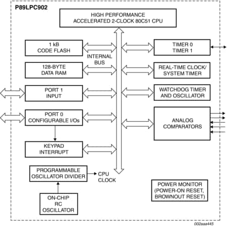
Errata sheet P89LPC902[ES_P89LPC902]
封装信息 (1)
应用笔记 (7)
数据手册 (1)
用户指南 (1)
-
P89LPC901/902/903 USER MANUAL[UM_P89LPC901_902_903]



