封装信息 (1)
-
plastic leaded chip carrier; 68 leads[SOT188-2]
支持信息 (1)
-
Footprint for wave soldering[PLCC-WAVE]
数据手册 (1)
-
8-bit microcontroller[P83C562_P80]
P80C562/P83C562(以下统称为P8xC562)单芯片8位微控制器以高级CMOS工艺制造,是80C51微控制器系列的衍生产品。P8xC562与80C51具有相同的指令集。存在两个版本的衍生产品:
该I/O密集型设备提供架构增强功能,用作汽车电子领域的控制器,特别是引擎管理和齿轮箱控制。
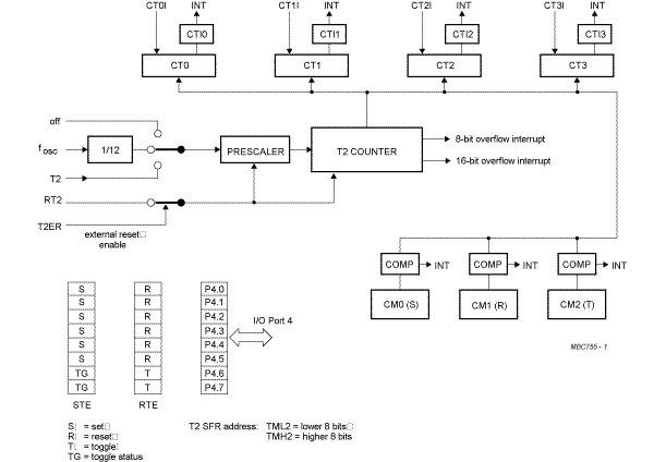
P8xC562包含一个非易失性8KB只读程序存储器,一个易失性256字节读/写数据存储器,六个8位I/O端口,两个16位定时器/事件计数器(与80C51的定时器类似),一个与捕获和比较锁存配套的额外的16位定时器,一个14源,二优先级嵌套中断结构,一个8输入ADC,一个带脉宽调制输出的双DAC,一个串行接口(UART),一个“看门狗”定时器和片内振荡器以及定时电路。对于需要额外功能的系统,P8xC562可以使用标准TTL兼容内存和逻辑器件进行扩展。
该设备还具有算术处理器功能,同时具有二进制和BCD算术设施以及位处理能力。指令集包括超过100个指令:49个单字节、45个双字节和17个三字节。凭借16 MHz晶振,58%的指令在0.75微秒内执行,40%在1.5微秒内执行。乘和除指令需要3毫秒。

|
|
|
|
|
|
|
|---|---|---|---|---|---|
|
|
|
|
|
|
|
|
|
|
|
|
|
|
|
|
|
|
|
|
|
|
|
|
|
|
|
|
|
|
|
|
|
|
|
|
|
|
|
|
|
|
|
|
|
|
|
|
|
|
|
|
|
|
|
|
|
|
|
|
|
|
|
|
|
|
|
|
|
|
快速参考恩智浦 文档类别
3 文件
紧凑列表
安全文件正在加载,请稍等