设计文件
收到完整的详细信息。 请参阅产品足迹及更多信息 电子CAD文件.
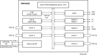
The P89V52X2 is an 80C51 microcontroller with 8 kB flash, 256 B of data RAM, and 192 B of data EEPROM. This device is designed to be a drop in and software compatible replacement for the P87C52, P87C52X2, P89C52, and P89C52X2 devices.
|
|
|
|
|
|
|
|---|---|---|---|---|---|
|
|
|
|
|
|
|
|
|
|
|
|
|
|
|
|
|
|
|
|
|
|
|
|
|
|
|
|
|
|
|
|
|
|
|
|
|
|
|
|
|
|
|
|
|
|
|
|
|
|
|
|
|
|
|
|
|
|
|
|
|
|
|
|
|
|
|
|
|
|
快速参考恩智浦 文档类别
3 文件
紧凑列表
安全文件正在加载,请稍等