封装信息 (1)
支持信息 (1)
-
Footprint for reflow soldering[SSOP-TSSOP-VSO-REFLOW]
数据手册 (1)
-
48 kHz IEC 60958 audio DAC[UDA1352TS]
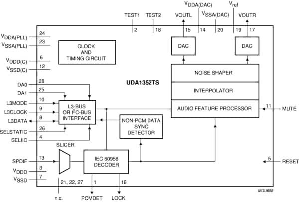
UDA1352TS是一款单芯片IEC 60958音频解码器,具有采用位流转换技术的集成立体声DAC。
LOCK引脚上提供锁定指示信号,指示IEC 60958解码器已锁定。提供单独的PCMDET引脚,以指示PCM数据是否应用于输入。
默认情况下,当解码器失锁时,DAC输出为静音。但是,此设置在L3总线或I²C总线模式中可能失效。
UDA1352TS具有仅针对DAC的IEC 60958输入,采用SSOP28封装。
除了UDA1352TS,我们还提供UDA1352HL。UDA1352HL是功能全面的版本,采用LQFP48封装。
|
|
|
|
|
|
|
|---|---|---|---|---|---|
|
|
|
|
|
|
|
|
|
|
|
|
|
|
|
|
|
|
|
|
|
|
|
|
|
|
|
|
|
|
|
|
|
|
|
|
|
|
|
|
|
|
|
|
|
|
|
|
|
|
|
|
|
|
|
|
|
|
|
|
|
|
|
|
|
|
|
|
|
|
快速参考恩智浦 文档类别
3 文件
紧凑列表
安全文件正在加载,请稍等