封装信息 (1)
应用笔记 (4)
数据手册 (1)
-
256 x 8-bit CMOS EEPROM with I2C-bus interface[PCF8582C_2]
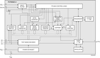
PCF8582C-2是一款浮动门控电可擦可编程只读存储器(EEPROM),具备2 kbits(256 x 8位)非易失性存储器。通过使用内部冗余存储代码,对单个位元错误有容错功能。相比传统的EEPROM,此功能显著提升了可靠性。由于使用全CMOS技术,所以功耗很低。使用电压倍增器片上生成编程电压。
通过串行I²C总线接收和发送数据字节。可将最多八个PCF8582C-2器件连接至I²C总线。通过三个地址输入(A0、A1和A2)完成芯片选择。
内部执行E/W周期的定时,所以无需外部组件。引脚7编程时间控制(PTC)必须连接至VDD或保持开路。也可以使用外部时钟对E/W周期的长度进行定时。
|
|
|
|
|
|
|
|---|---|---|---|---|---|
|
|
|
|
|
|
|
|
|
|
|
|
|
|
|
|
|
|
|
|
|
|
|
|
|
|
|
|
|
|
|
|
|
|
|
|
|
|
|
|
|
|
|
|
|
|
|
|
|
|
|
|
|
|
|
|
|
|
|
|
|
|
|
|
|
|
|
|
|
|
快速参考恩智浦 文档类别
7 文件
紧凑列表
安全文件正在加载,请稍等