包装信息 (1)
封装信息 (1)
应用笔记 (1)
-
AN10216[AN10216]
数据手册 (1)
-
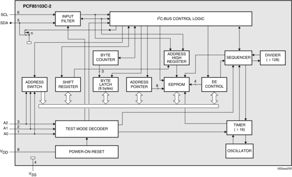
256 x 8-bit CMOS EEPROM with I2C-bus interface[PCF85103C_2]
PCF85103C-2是一款浮动门控电可擦可编程只读存储器(EEPROM),具备2 kbits(256 x 8位)非易失性存储器。通过使用内部冗余存储代码,对单个位元错误有容错功能。相比传统的EEPROM,此功能显著提升了可靠性。由于使用全CMOS技术,所以功耗很低。使用电压倍增器片上生成编程电压。
通过串行I²C总线接收和发送数据字节。可将最多八个PCF85103C-2器件连接至I²C总线。通过三个地址输入(A0、A1和A2)完成芯片选择。
除固定I²C地址(允许在同一I²C总线上存在最多八个PCF85102C-2和八个PCF85103C-2)外,PCF85103C-2与PCF85102C-2完全相同。
|
|
|
|
|
|
|
|---|---|---|---|---|---|
|
|
|
|
|
|
|
|
|
|
|
|
|
|
|
|
|
|
|
|
|
|
|
|
|
|
|
|
|
|
|
|
|
|
|
|
|
|
|
|
|
|
|
|
|
|
|
|
|
|
|
|
|
|
|
|
|
|
|
|
|
|
|
|
|
|
|
|
|
|
快速参考恩智浦 文档类别
6 文件
紧凑列表
安全文件正在加载,请稍等