包装信息 (2)
封装信息 (1)
支持信息 (1)
-
Reflow Soldering Profile[REFLOW_SOLDERING_PROFILE]
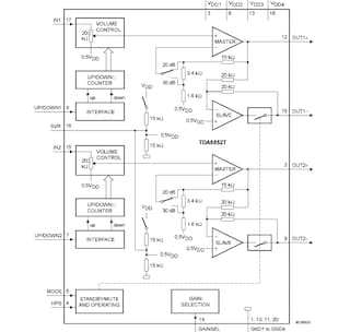
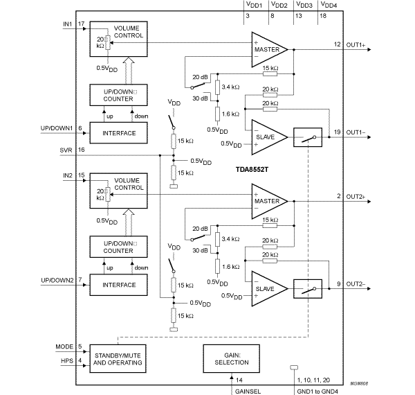
TDA8552T是双声道音频功率放大器,使用5 V电源向8 Ω负载提供2 x 1.4 W输出功率。该电路包含两个BTL功率放大器、两个数字音量控制和待机/静音逻辑。放大器的音量和平衡使用可以通过简单的按钮或通过微控制器驱动的两个数字输入针脚进行控制。通过使用选择针脚(GAINSEL),最大增益可以设置为20或30 dB。耳机检测输入(HPS)可用来检测耳机是否插入插座连接器。如果耳机插入插座连接器,则放大器从BTL切换到SE模式且BTL扬声器关闭。这还能减少静态电流消耗。
TDA8552T采用20针小型封装。对于TDA8552TS,其采用20针超小型封装,最大输出功率由允许的最大环境温度加以限制。更多信息可在“热设计考虑因素”一节中找到。SO20封装具有连接到芯片焊盘的四角引线,从而热行为可以由PCB布局进行改善。
|
|
|
|
|
|
|
|---|---|---|---|---|---|
|
|
|
|
|
|
|
|
|
|
|
|
|
|
|
|
|
|
|
|
|
|
|
|
|
|
|
|
|
|
|
|
|
|
|
|
|
|
|
|
|
|
|
|
|
|
|
|
|
|
|
|
|
|
|
|
|
|
|
|
|
|
|
|
|
|
|
|
|
|
快速参考恩智浦 文档类别
5 文件
紧凑列表
安全文件正在加载,请稍等