应用笔记 (2)
支持信息 (2)
-
Footprint for Wave Soldering[SO-SOJ-WAVE]
-
Footprint for reflow soldering[SO-SOJ-REFLOW]
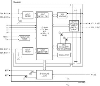
PCA9541是一款二选一 I²C总线主器件选择器,主要用于需要系统操作的高可靠性双主器件I²C总线应用,此类应用中即使一个主器件发生故障或拔出控制器卡进行维护,系统也不受影响。两个主器件(例如,主用和备用)分别位于通往相同下游I²C总线从器件的不同I²C总线上。I²C总线命令可通过任一I²C总线主器件发送,每次使用命令时需选择一个主器件。任何时候,任一主器件均可在另一主器件被禁用或从系统拔出时获得对从器件的控制。发生故障的主器件会从系统隔离且不会影响在线主器件和下游I²C总线上从器件之间的通信。
提供不同构架的两个版本。PCA9541/01在启动时选择通道0而PCA9541/03在启动后不选择任何通道。
中断输出用于指示哪个主器件控制着总线。一个中断输入(INT IN)收集下行信息,并将其传播至2个上行I²C总线(INT0和INT1)(如已启用)。INT0和INT1还用于让之前的总线主器件知道自己不再掌握总线控制权,并指示何时完成总线恢复/初始化序列。这些中断可以禁用,如果已设置屏蔽选项,则不会生成中断。
总线恢复/初始化(如果启用)会发送九个时钟脉冲,一个不确认和一个STOP状况,以便在将通道实际切换至所选通道前将下游I²C总线器件设为初始状态。
当恢复/初始化步骤完成时,会将中断发送至上游通道。
内部总线传感器会感应I²C总线通信量并在非闲置总线状况期间发生通道切换时生成中断。当PCA9541恢复/初始化不使用时启用此功能。中断信号通知主器件需要进行外部I²C总线恢复/初始化。可将其禁用且不会生成中断。
开关通道门的构造使VDD引脚可用来限制PCA9541所传递的最高电压。这允许在各对上使用不同的总线电压,在没有任何额外保护的情况下使1.8 V、2.5 V或3.3 V器件能够与5 V器件通信。
PCA9541不会隔离器件任一侧上的电容负载,因此设计师必须考虑所有走线和器件两侧的器件电容,且所有通道上必须使用上拉电阻。
外部上拉电阻将总线拉至各通道想要的电压电平。所有I/O引脚均为6.0 V耐受。
低电平有效的复位输入允许对PCA9541进行初始化。和内部上电复位(POR)功能一样,将RESET引脚拉至低电平也可将I²C总线状态机复位,并将器件配置为默认状态。
新设计不推荐使用PCA9541 - 请使用PCA9541A
|
|
|
|
|
|
|
|---|---|---|---|---|---|
|
|
|
|
|
|
|
|
|
|
|
|
|
|
|
|
|
|
|
|
|
|
|
|
|
|
|
|
|
|
|
|
|
|
|
|
|
|
|
|
|
|
|
|
|
|
|
|
|
|
|
|
|
|
|
|
|
|
|
|
|
|
|
|
|
|
|
|
|
|
快速参考恩智浦 文档类别
7 文件
紧凑列表
安全文件正在加载,请稍等