包装信息 (1)
封装信息 (1)
数据手册 (1)
-
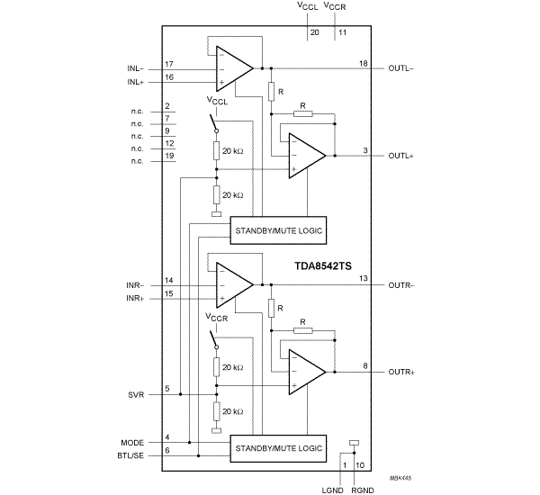
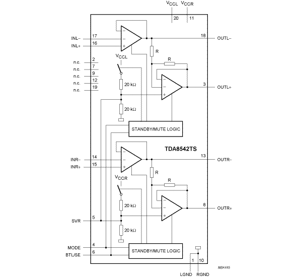
2 × 0.7 W BTL audio amplifier[TDA8542TS]
TDA8542TS是一款两声道音频功率放大器,输出功率为2 x 0.7 W,采用5 V电源时具有16Ω负载。在3.3 V的低电源电压下,8Ω负载时可以获得0.6 W的输出功率。该电路包含两个桥接式负载(BTL)放大器以及互补PNP-NPN输出级和待机/静音逻辑。TDA8542TS采用SSOP20封装。
|
|
|
|
|
|
|
|---|---|---|---|---|---|
|
|
|
|
|
|
|
|
|
|
|
|
|
|
|
|
|
|
|
|
|
|
|
|
|
|
|
|
|
|
|
|
|
|
|
|
|
|
|
|
|
|
|
|
|
|
|
|
|
|
|
|
|
|
|
|
|
|
|
|
|
|
|
|
|
|
|
|
|
|
快速参考恩智浦 文档类别
3 文件
紧凑列表
安全文件正在加载,请稍等