设计文件
收到完整的详细信息。 请参阅产品足迹及更多信息 电子CAD文件.
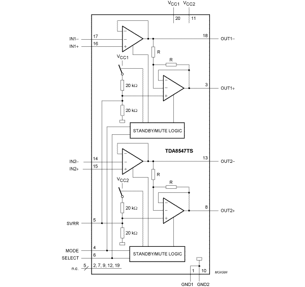
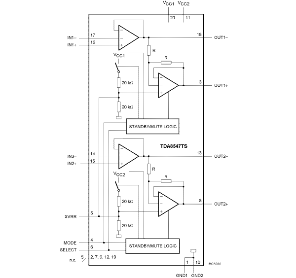
TDA8547TS是双声道音频功率放大器,在电源电压为5 V时向16 Ω负载提供2 x 0.7 W的输出功率。在3.3 V的低电源电压下,8Ω负载时可以获得0.6 W的输出功率。该电路包含两个BTL放大器以及互补PNP-NPN输出级和待机/静音逻辑。器件的所有通道的操作状态(待机、静音或打开)由MODE引脚外部控制。通过SELECT引脚,其中一个输出通道可以在待机状态下进行切换。该功能可用于扬声器选择,同时降低了静态电流消耗。只使用一个通道时,最大输出功率为1.2 W。
|
|
|
|
|
|
|
|---|---|---|---|---|---|
|
|
|
|
|
|
|
|
|
|
|
|
|
|
|
|
|
|
|
|
|
|
|
|
|
|
|
|
|
|
|
|
|
|
|
|
|
|
|
|
|
|
|
|
|
|
|
|
|
|
|
|
|
|
|
|
|
|
|
|
|
|
|
|
|
|
|
|
|
|
快速参考恩智浦 文档类别
3 文件
紧凑列表
安全文件正在加载,请稍等