包装信息 (1)
封装信息 (1)
手册 (2)
-
LED Drivers Selector Guide[LED-DRIVER-SELECTOR-GUIDE]
数据手册 (1)
用户指南 (2)
-
PCA9632 demonstration board OM13269[UM10528]
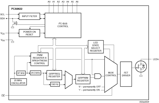
PCA9622是一款由I²C总线控制的16位LED驱动器,最适合对100 mA红色/绿色/蓝色/琥珀色(RGBA) LED进行电压开关调光和闪烁控制。每个LED输出各自带有8位分辨率(256阶)固定频率的独立PWM控制器,该控制器工作在97 kHz的频率下,占空比从0 %至99.6 %可调,允许将LED设为特定的亮度值。额外的8位分辨率(256阶)分组PWM控制器既有190 Hz的固定频率又有24 Hz至每10.73秒一次的可调频率,占空比从0 %至99.6 %可调,用于以相同值对所有LED进行调光或闪烁控制。
每个LED输出可以是关、开(无PWM控制)、按独立PWM控制器的值或按单独和分组PWM控制器的值设置。PCA9622的工作电源电压范围为2.3 V至5.5 V,100 mA开漏输出允许最高40 V的电压。
PCA9622是全新快速模式Plus (Fm+)系列的首批LED控制器器件之一。Fm+器件提供更高的频率(最高1 MHz)和更密集的总线操作(最高4000 pF)。
低电平有效的输出使能输入引脚(OE)能使所有LED输出闪烁并可用于外部PWM输出,这在需要对多个器件一起进行调光或闪烁控制而不使用软件控制时非常有用。
软件可编程LED分组和三个子寻呼I²C总线地址允许所有或规定分组的PCA9622器件响应共用I²C总线地址,例如,允许同时打开或关闭所有红色LED或产生选取框追逐效果,从而最大程度减少I²C总线命令。7个硬件地址引脚允许在一条总线上连接最多126个器件。
软件复位(SWRST)寻呼允许主器件通过I²C总线对PCA9622进行复位,与上电复位(POR)完全相同,将寄存器初始化为默认状态,使输出设为高电平(LED关)。这能方便且快速地将所有器件寄存器重新配置为相同的条件。
PCA9622、PCA9625和PCA9635软件完全相同,如果PCA9622片上100 mA NAND FET不能提供足够的电流或电压来驱动LED,则可使用外部驱动器具有更大电流或更高电压的PCA9635。
快速参考恩智浦 文档类别
7 文件
紧凑列表
安全文件正在加载,请稍等