1.8 V的双通道UART,5 Mbit/s(最快),带有128字节FIFO、红外(IrDA)以及XScale VLIO总线接口

产品详情

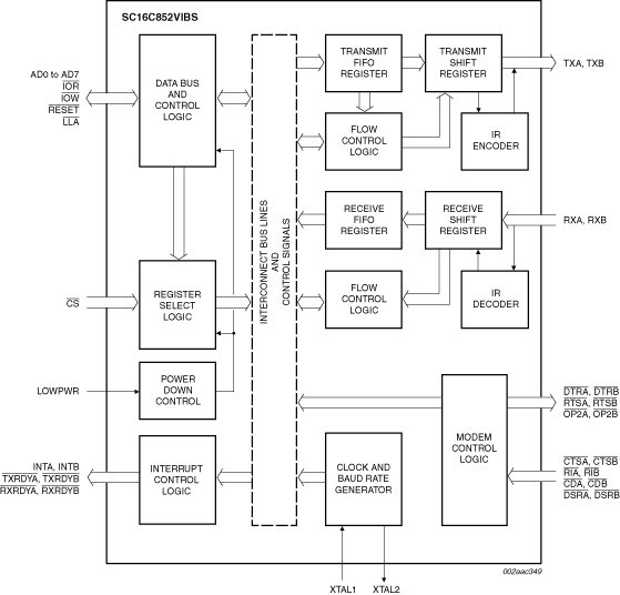
框图

Block diagram: SC16C852VIBS, SC16C852VIET

特征

  • 双通道高性能UART
  • 1.8 V操作
  • 高级封装:HVQFN48和TFBGA36
  • 1.8 V时最快5 Mbit/s的数据速率
  • 128字节发送FIFO降低了外部CPU的带宽要求
  • 带有错误标志的128字节接收FIFO降低了外部CPU的带宽要求
  • 128个可编程接收和发送FIFO中断触发电平?128个接收和发送FIFO报告电平(电平计数器)
  • 自动软件(Xon/Xoff)和硬件(RTS/CTS或DTR/DSR)流控制
  • 可编程Xon/Xoff字符
  • 128个可编程硬件和软件触发电平
  • 自动9位模式(RS-485)地址检测
  • 带有可编程延迟的自动RS-485驱动器逆转
  • 双通道同时写入
  • UART软件复位
  • 高分辨率时钟预分频器,以1/16的间隔从0至15允许使用非标准UART时钟
  • 工业温度范围(-40 ℃至+85 ℃)
  • 软件兼容行业标准SC16C652
  • 软件可选波特率生成器
  • 支持IrDA版本1.0(最快115.2 kbit/s)
  • 标准调制解调器接口或红外IrDA编码器/解码器接口
  • 增强的睡眠模式和低功耗特性
  • 调制解调器控制功能(CTS、RTS、DSR、DTR、RI、CD)
  • 独立的发送器和接收器启用/禁用
  • 提供无铅且符合RoHS标准的封装

购买/参数










































































































文档

快速参考恩智浦 文档类别

6 文件

紧凑列表

封装信息 (1)
应用笔记 (2)
手册 (2)
数据手册 (1)

设计文件

支持

您需要什么帮助?